Robotics • Perception • Machine Learning • Aerospace
I’m a Mechatronic Engineer passionate about automation, perception, and practical engineering. I enjoy open source projects, cost effective designs, and interacting with hardware on the lowest levels.
Education:
Conference Paper — IEEE MIPR, 2025
Presents a method for identifying original content behind AI-generated images using perceptual hashing.
Accepted for Publication — IEEE Asilomar, 2025
Introduces an approach for identifying duplicate videos using perceptual hashing.

Code on Github. Double Pendulum created with MIT Drake. Controlled using a PyTorch evolving neural network. Gravity and Air resistance incrementally modified for rapid training.
Code on GitHub. GIMP Plugins and ComfyUI Nodes communicate via WebSocket. Performed locally with RTX 3060 Mobile.
Pose extraction, filters, and ML processing for video-to-video diffusion. Performed locally with RTX 3060 Mobile.

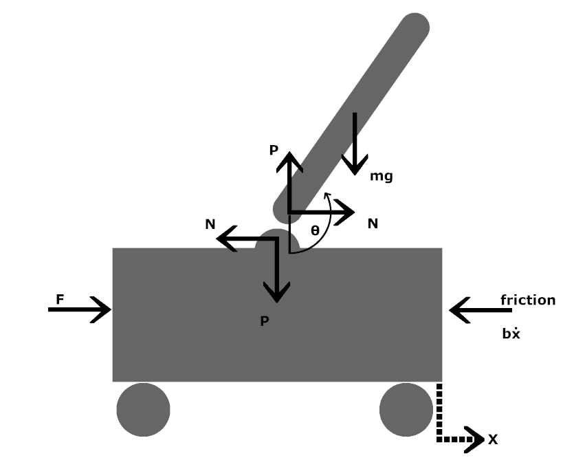
Simulated in MATLAB/Simulink. State-space modeling for observability and controllability.

A playable Python Tetris game with a bot.
CAD design of a combustion chamber, jet engine, and planetary gear system in SolidWorks.
Automated dog petting machine with machine learning object detection.

Simulated in CoppeliaSim. Control logic calculated in MATLAB/Simulink.
Whether you want to discuss a project, job opportunity, or ask questions, feel free to reach out!
Email Me